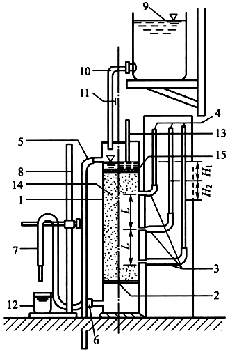
16.2 常水头渗透试验 16.2.1 本试验所用的仪器设备应符合下列规定: 1 常水头渗透仪装置:封底圆筒的尺寸参数应符合现行国家标准《岩土工程仪器基本参数及通用技术条件》GB/T 15406的规定;当使用其他尺寸的圆筒时,圆筒内径应大于试样最大粒径的10倍;玻璃测压管内径为0.6cm,分度值为0.1cm(图16.2.1); 2 天平:称量5000g,分度值1.0g; 3 温度计:分度值0.5℃; 4 其他:木锤、秒表。 16.2.2 常水头渗透试验应按下列步骤进行: 1 应先装好仪器(图16.2.1),并检查各管路接头处是否漏水。将调节管与供水管连通,由仪器底部充水至水位略高于金属孔板,关止水夹。 图16.2.1 常水头渗透装置 1-封底金属圆筒;2-金属孔板;3-测压孔;4-玻璃测压管;5-溢水孔;6-渗水孔;7-调节管;8-滑动支架;9-供水瓶;10-供水管;11-止水夹;12-容量为500mL的量筒;13-温度计;14-试样;15-砾石层 2 取具有代表性的风干试样3kg~4kg,称量准确至1.0g,并测定试样的风干含水率。 3 将试样分层装入圆筒,每层厚2cm~3cm,用木锤轻轻击实到一定的厚度,以控制其孔隙比。试样含黏粒较多时,应在金属孔板上加铺厚约2cm的粗砂过渡层,防止试验时细粒流失,并量出过渡层厚度。 4 每层试样装好后,连接供水管和调节管,并由调节管中进水,微开止水夹,使试样逐渐饱和。当水面与试样顶面齐平,关止水夹。饱和时水流不应过急,以免冲动试样。 5 按照本标准第16.2.2条第1款~第4款的规定逐层装试样,至试样高出上测压孔3cm~4cm为止。在试样上端铺厚约2cm砾石作缓冲层。待最后一层试样饱和后,继续使水位缓缓上升至溢水孔。当有水溢出时,关止水夹。 6 试样装好后量测试样顶部至仪器上口的剩余高度,计算试样净高。称剩余试样质量,准确至1.0g,计算装入试样总质量。 7 静置数分钟后,检查各测压管水位是否与溢水孔齐平。不齐平时,说明试样中或测压管接头处有集气阻隔,用吸水球进行吸水排气处理。 8 提高调节管,使其高于溢水孔,然后将调节管与供水管分开,并将供水管置于金属圆筒内。开止水夹,使水由上部注入金属圆筒内。 9 降低调节管口,使其位于试样上部1/3高度处,造成水位差使水渗入试样,经调节管流出。在渗透过程中应调节供水管夹,使供水管流量略多于溢出水量。溢水孔应始终有余水溢出,以保持常水位。 10 测压管水位稳定后,记录测压管水位,计算各测压管间的水位差。 11 开动秒表,同时用量筒接取经一定时间的渗透水量,并重复1次。接取渗透水量时,调节管口不得浸入水中。 12 测记进水与出水处的水温,取平均值。 13 降低调节管管口至试样中部及下部1/3处,以改变水力坡降,按本标准第16.2.2条第9款~第12款规定重复进行测定。 14 根据需要,可装数个不同孔隙比的试样,进行渗透系数的测定。 16.2.3 常水头渗透试验渗透系数应按下列公式计算: 式中:kt——水温T℃时试样的渗透系数(cm/s); Q——时间t秒内的渗透水量(cm3); L——渗径(cm),等于两测压孔中心间的试样高度; A——试件的断面积(cm2); t——时间(s); H1、H2——水位差(cm); k20 ——标准温度(20℃)时试样的渗透系数(cm/s); ηT——T℃时水的动力黏滞系数(1×10-6kPa·s); η20——20℃时水的动力黏滞系数(1×10-6kPa·s)。 比值ηT/η20与温度的关系应按本标准表8.3.5-1执行。 16.2.4 当进行不同孔隙比下的渗透试验时,可在半对数坐标上绘制以孔隙比为纵坐标,渗透系数为横坐标的e-k关系曲线图。 16.2.5 常水头渗透试验的记录格式应符合本标准附录D表D.24的规定。